部品検索(参考データ)
*あくまでも参考データです。
  内容は予告無く変更を行う場合がございます。

   
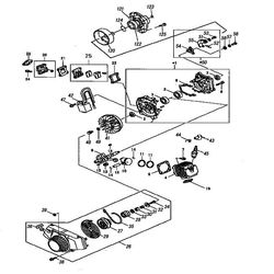
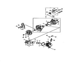
エンジン
E1:エンジン
デルタエンジン
E3:デルタハーフエンジン
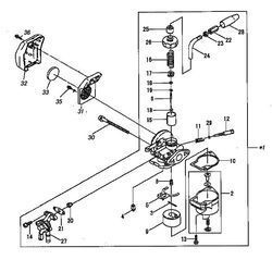
キャブレター
E2:キャブレター
ハンドルスイッチレバー
F1:ハンドルレバースイッチ
ステアリングブリッジ
F2:ステアリングブリッジ
フロントフェンダー
F3:フロントフェンダー
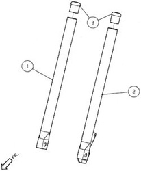
フロントフォーク
F4:フロントフォーク
フロントブレーキキャリパー
F5:フロントブレーキキャリパー
フロントホイール
F6:フロントホイール
リヤブレーキキャリパー
F7:リヤブレーキキャリパー
リヤホイール
F8:リヤホイール
燃料タンク
F9:燃料タンク
シート
F10:シート
マフラー
F11:マフラー
ステップ
F12:ステップ
スイングアーム
F13:スイングアーム
リヤフェンダー
F14:リヤフェンダー
フレームボディー
F15:フレームボディー
フレーム
F16:フレームボディー
フロントカウル
F17:フロントカウル
スタンド
F18:スタンド
ステップ
オプション:レーシングステップ
スタンド
OPE:エンジン廻り オプション
ステップ
OPF:フレーム廻り オプション
スタンド
OPM:メンテナンス関連 オプション
 
注文フォーム

部品検索ページトップへ