| |
F-05 : フロントブレーキキャリパー
部品検索(参考データ)
*あくまでも参考データです。
内容は予告無く変更を行う場合がございます。


|
No
|
部品名
|
数量
|
価格
|
備考
|
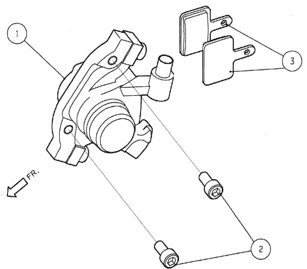
| F05 |
1 |
レーシングキャリパー |
1 |
¥6,480 |
3、含む |
| F05 |
2 |
フランジボルト スモールヘッド 6X14 |
2 |
¥68 |
|
| F05 |
3 |
ブレーキパッド |
2 |
¥1,123 |
|
| F05 |
4 |
ブレーキパッド スペーサー |
1 |
¥567 |
OP |
| F05 |
6 |
パッドスプリング |
1 |
¥113 |
OP |
| F05 |
7 |
パッドピン |
1 |
¥113 |
OP |
| F05 |
8 |
O-リング |
1 |
¥12 |
OP |
| F05 |
9 |
ブレーキケーブルアジャスター |
1 |
¥340 |
OP |
| F05 |
10 |
パッドアジャストボルト |
1 |
¥907 |
OP |

このページのトップへ
部品検索ページトップへ
|